AVK KEIL-OVALSCHIEBER MIT FLANSCHEN, PN10/16
Baulänge F5, AISI 316 Spindel, innen und außen EKB, DN40 - DN500, 300µ Beschichtung

AVK Armaturen GmbH
Schillerstraße 50 42489 Wülfrath
Keil-Ovalschieber mit Flanschen. Für Abwasser und neutrale Flüssigkeiten bis max. 70°C
AVK Schieber sind in jeder Hinsicht für hohe Sicherheit ausgelegt. Der vollvulkanisierte Keil besteht aus AVK-eigenem trinkwassergeeignetem EPDM. Die hohe Formfestigkeit des Gummis, die zweifache Vulkanisierung und die stabile Keilkonstruktion gewährleisten eine hohe Lebensdauer. Das Dichtsystem mit dreifacher Absicherung, die stabile Spindel und der vollständige Korrosionsschutz sind Garanten für hohe Zuverlässigkeit.
Variante 02/63-013 | |
---|---|
Verbindung | Flanschverbindung |
Material | Sphäroguss |
Nennweiten | DN40 - DN300 |
Druckstufe | PN16 |
Schließrichtung | Schließrichtung im Uhrzeigersinn |
Merkmale
- Fest integrierte Keilmutter verhindert Vibrationen und sorgt für eine lange Lebensdauer
- Vollvulkanisierter Keil mit für Trinkwasser zugelassenem EPDM-Gummi und ausgestattet mit Keilschuhen für einen gleichmäßigen Lauf
- Große konische Spindelöffnung im Keil verhindert stagnierendes Wasser
- Führungsschienen im Gehäuse sichern stabilen Bewegungsvorgang des Keils
- Spindel aus säureresistentem Edelstahl mit Keilanschlag und gerolltem Gewinde für hohe Festigkeit
- Vollständig umlaufender Kammring verleiht der Spindel besonderen Halt und sorgt für niedrige Drehmomente
- Dreifach abgesicherte Spindelabdichtung mit NBR-Abstreifring, Polyamid-Lager mit vier O-Ringen aus NBR und EPDM-Lippendichtung
- Gekammerte Haubendichtung aus EPDM
- von der Haubendichtung umschlossene, versenkte und versiegelte Gehäuseschrauben aus Edelstahl
- Voller Durchgang
- Niedrige Betriebsdrehmomente
- Epoxidbeschichtung gemäß DIN 3476, Teil 1, und EN 14901, GSK zugelassen
Downloads
Datenblatt
Umweltproduktdeklaration (EPD)
Ausschreibungstext
Betriebs- und Wartungsanleitung
Animation
AVK_Gate valves_animation_2022.mp4 |
Übersicht
Scrollen für mehr Informationen
AVK Art. Nr. | DN mm |
Flansch Bohrung |
L mm |
H mm |
H3 mm |
W mm |
F mm |
F1 mm |
F2 mm |
Theoretisches Gewicht / kg |
---|---|---|---|---|---|---|---|---|---|---|
02-040-63-01410902 | 40 | PN10/16 | 240 | 200 | 283 | 100 | 14 | 16 | 30 | 8,3 |
02-050-63-01410902 | 50 | PN10/16 | 250 | 209 | 292 | 110 | 14 | 16 | 30 | 9,7 |
02-065-63-01410902 | 65 | PN10/16 | 270 | 243 | 336 | 185 | 17 | 20 | 34 | 12 |
02-080-63-01410902 | 80 | PN10/16 | 280 | 282 | 382 | 200 | 17 | 20 | 34 | 16 |
02-100-63-01410902 | 100 | PN10/16 | 300 | 319 | 429 | 220 | 19 | 22 | 34 | 18 |
02-125-63-01410902 | 125 | PN10/16 | 325 | 346 | 471 | 250 | 19 | 22 | 34 | 24 |
02-150-63-01410902 | 150 | PN10/16 | 350 | 403 | 596 | 285 | 19 | 22 | 34 | 34 |
02-200-63-00410902 | 200 | PN10 | 400 | 490 | 660 | 340 | 24 | 28 | 34 | 54 |
02-200-63-01410902 | 200 | PN16 | 400 | 490 | 660 | 340 | 24 | 28 | 34 | 54 |
02-300-63-004107021 | 300 | PN10 | 500 | 740 | 968 | 455 | 27 | 31 | 47 | 126 |
02-300-63-014107021 | 300 | PN16 | 500 | 740 | 929 | 455 | 27 | 31 | 47 | 126 |
3D Zeichnungen
Anfrage
Scrollen für mehr Informationen
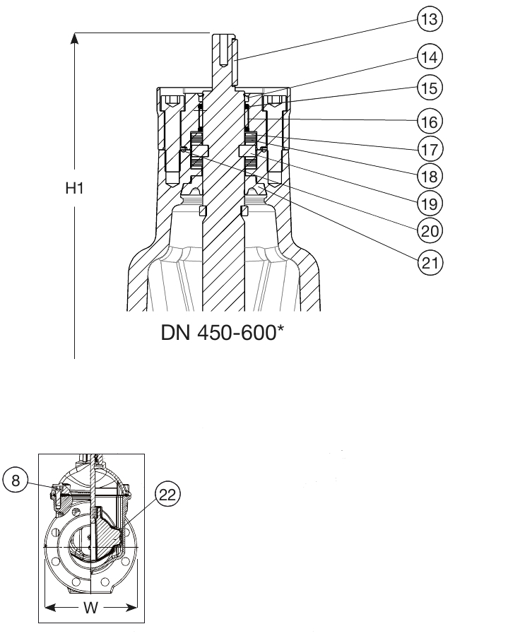
Bestandteile
1. | Spindel | Edelstahl 1.4404 (316L) |
2. | Abstreifer | NBR |
3. | O-Ring | NBR |
4. | Lager | Polyamid |
5. | Haube | Duktilguss GJS-500-7 (GGG 50) |
6. | Kammring | Messing CW602N, entzinkungsbeständig |
7. | Lippendichtung | EPDM |
8. | Gehäuseschrauben | Edelstahl A4, mit Heißkleber versiegelt |
9. | Haubendichtung | EPDM |
10. | Keilmutter | Messing CW626N, entzinkungsbeständig |
11. | Keil | Duktilguss, vulkanisiert mit EPDM |
12. | Gehäuse | Duktilguss GJS-500-7 (GGG 50) |
13. | Passfeder | Edelstahl |
14. | Abstreifer | NBR |
15. | O-Ring | NBR |
16. | Lager | Polyamid |
17. | Axialscheibe | Edelstahl 1.4104 (430F) |
18. | Rolllager | Edelstahl |
19. | Kammring | Edelstahl 1.4104 (430F) |
20. | O-Ring | NBR |
21. | Lippendichtung | EPDM |
22. | Keilschuh | Polyamid |
Normen
- Konstruiert nach EN 1074 Teil 1 & 2, Konstruiert nach EN 1171
- Baulänge gemäß EN558, Tabelle 2, Grundreihe 15
- Standard Flanschbohrung nach EN 1092 (ISO 7005-2), PN10/16